
k13a - Gänge springen raus - Reparatur
Hallo Freunde,
nachdem ich mir im Sommer '23 den k13a zugelegt hatte stellte sich heraus, dass der 4te und 5te Gang rausspringen - nicht so lustig bei Bergabfahrt
Nach einigen Hinweisen aus dem Forum hier nun der Bericht der 'Korrektur':
Also im Winter
1. Getriebeöl raus
2. den Kleinen an der Getriebevorderseite um die Länge des Getriebes auseinandergefahren
3. Getriebedeckel abschrauben
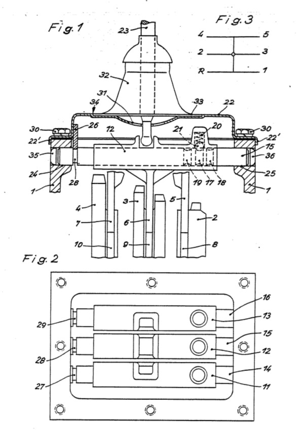
4. mit einem Flachmeissel vorsichtig die Schaltwellen in der Ringnut (27/28/29, blauer Pfeil)) nach vorne austreiben....hier löst sich dann auch jeweils die kleine Blechkappe (36) die öldicht die Schaltwelle schützt
5. bevor die Schaltwelle in der Schaltgabel/verschwindet (roter Pfeil) mit einem Holzdübel 'nachschieben' damit die Riegelfeder und die Sperrkugel nicht in den Getriebekasten fallen
6. Schaltgabel jeweils entnehmen, reinigen, Feder/Kugel inspizieren
==> bei mir hatten die Federn Längen von 14,0-14,1-15mm
bei z.B. der Treckergarage habe ich Federn gefunden mit den exakt passenden Aussen-/Innen-/Drahtdurchmesser,
ZF Riegeldruckfeder 1203 313 004 für ZF A 205 Getriebe7. mit einer M6-Schraube habe ich mir eine 'Schleiflehre' gebaut und die Federn auf 16,5mm gekürzt
8. nun Schaltmimik in umgekehrter Reihenfolge mit Holzdübel montieren - Blechkappe nicht vergessen
9. mit einer neuen 2mm-Gummikorkdichtung (grüner Pfeil) habe ich den Getriebedeckel abgedichtet
10. frisches SAE90 rein und Schlepper zusammenfahren
In den letzten Wochen habe ich nun mehrere Holzfuhren, eine 10km Kiesfuhre und eine 20km-Splitfuhre (viel bergab/bergauf) mit jeweils ca. 1,3 to hinten dran absolviert...alle Gänge sind da geblieben wo der Konstrukteur sie haben wollte

Beste Grüße
Hermann-Josef
Dateianhang:
Getriebe offen k13a.jpg [ 374.39 KiB | 3269-mal betrachtet ]
Dateianhang:
Der Dateianhang Riegelfeder k13a.jpg existiert nicht mehr.
Dateianhang:
Der Dateianhang k13a Getriebe Schemaplan.jpg existiert nicht mehr.